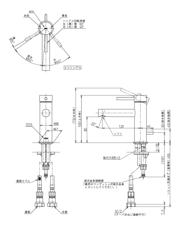
Vòi chậu rửa mặt TOTO TLCC31ER/T7PW1

Thương hiệu: TOTO | Xuất xứ: Nhật Bản | Bảo hành: 2 năm

Chat Zalo